-
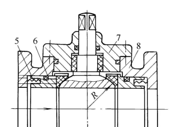
为什么机械密封的动静环要“一软一硬”?
New
在泵房里待久了,老师傅们总会指着拆开的机械密封说:“你看,这白色的是不锈钢,软;这亮黑的碳化硅,硬。俩必须得一软一硬对着干,就跟两口子过日子一样,一个刚一个柔,才能长久。”新手听了点头,老手听了会心一 ...
-
哇!我中得了【100灵石】大奖,好高兴哦!
New
哈哈... 真是没想到啊!我能 绑架狗狗敲●诈勒●索成功 中得了100灵石 好高兴哦!
100灵石
100灵石奖品
-
在长距离管路系统中,法兰接头与弯头应错开布置
New
在长距离管路系统中,将法兰接头与弯头错开布置,是保障系统安全稳定运行的关键工程技术要求,符合《船舶管路系统设计规范》《工业金属管道设计规范》(GB 50316)等行业标准对管路应力控制及密封可靠性的相关规定 ...
-
滚动轴承的松动和倒角问题,附上应对措施
New
32、轴或紧定套上的轴承锁紧螺母松动安装时需考虑的因素:
[*]锁紧螺母松动会导致轴承松动
[*]这将导致内圈在轴颈上蠕动(旋转)
[*]这种情况会导致轴承产生更大的噪声、更多的热量,还会导致轴承定位不良
措施:
[* ...
-
常压储罐选型要点:介质、温度、呼吸损失
New
常压储罐选型要点:介质、温度、呼吸损失常压储罐看似“压力不高、结构不复杂”,但真正让项目出问题的,往往就出在常压储罐:要么投用后气味逸散与呼吸损失大,要么罐体内腐蚀超预期、渗漏频发,要么基础沉降导致罐 ...
-
储罐气密试验的适用场景、试验步骤与安全风险控制
New
储罐气密试验的适用场景、试验步骤与安全风险控制在储罐与压力容器交付过程中,很多人对“试水”比较熟,但对“气密试验”容易模糊:有的项目把气密当成可做可不做,有的项目又把气密当成“最后随便打点气看看”。实 ...
-
储罐水压试验的试验准备、风险点与验收要点
New
储罐水压试验的试验准备、风险点与验收要点储罐水压试验(或试水)是储罐制造与安装后的关键验证环节之一。很多项目把试水理解成“灌满水看看漏不漏”,但在工程实践中,水压试验的意义远不止检漏,它同时承担着结构 ...
-
气体系统配置储罐
New
气体系统配置储罐在许多工业气体系统中,无论是压缩空气系统、氮气供应系统,还是氢气或天然气输送系统,几乎都会配置气体储罐设备。对于一些刚接触气体系统的人来说,可能会认为气体只要通过压缩机直接输送即可,不 ...
-
储罐与压力容器的区别
New
储罐与压力容器的区别在工业设备体系中,“储罐”和“压力容器”这两个概念经常同时出现,因此很多人在初次接触时容易将两者混为一谈。实际上,从工程定义和设备分类角度来看,储罐与压力容器既存在交叉关系,又存在 ...
-
储罐在化工装置中的典型布置位置解析
New
储罐在化工装置中的典型布置位置解析在化工生产系统中,储罐不仅是一种用于储存物料的设备,同时也是连接不同工艺单元的重要节点。许多装置在设计阶段都会根据工艺流程设置多个储罐,这些储罐分别承担不同功能,例如 ...
-
从安全边界到工程责任的系统分析二手压力容器很少用于新项目
New
从安全边界到工程责任的系统分析二手压力容器很少用于新项目在工业设备交易市场中,二手压力容器一直存在一定规模的流通。一些装置停产、企业搬迁或设备更新后,会有部分使用过的压力容器进入市场。由于价格通常明显 ...
-
储罐、缓冲罐、分离罐的区别
New
储罐、缓冲罐、分离罐的区别在工程现场,“储罐、缓冲罐、分离罐”这三个名字经常被混用:有的项目把所有容器都叫储罐,有的把带一定容积的中间容器都叫缓冲罐,还有的把带气液空间的设备统称分离罐。名字混用的直接 ...
-
GB/T9948-2025中Q355钢管是否可参照Q345的许用应力取值?官方答复!
New
问:您好,GB/T9948-2025《石化和化工装置用无缝钢管》已于2026年1月1日实施,替代GB/T6479-2013,材质由 Q345更新为Q355。
目前GB/T150.2-2024《压力容器第2部分:材料》表C.3仅列入GB/T6479 Q345的许用应力,尚未给 ...
-
哇!我中得了【100灵石】大奖,好高兴哦!
New
哈哈... 真是没想到啊!我能 浑水摸鱼成功 中得了100灵石 好高兴哦!
100灵石
100灵石奖品
-
爆破吹扫与常规吹扫有何区别?
爆破吹扫与常规(连续)吹扫在原理、适用场景和操作方式上存在显著区别,核心差异在于能量释放的形式:一个是瞬间爆发,一个是持续冲刷。 主要区别对比简单来说,常规吹扫像“持续的急流”,适合小管道的常规清洁; ...
-
ASME焊接工艺评定必须注意点,ASME第九卷中工艺评定及技能评定的变素分类。
-
焊得好≠焊得牢?
-
焊接热裂纹及形成机理
焊接热裂纹及形成机理形成机理:焊接热裂纹,它是在焊接生产过程中的高温条件下,由于化学成分,结构设计,热循环,焊接工艺等综合因素影响下,所产生的焊缝或热影响区开裂。典型特征:沿结晶组织的晶界开裂(可以表 ...
-
焊接工艺评定替代规则 GB50661
[*]不同焊接方法的评定结果不得互相替代。不同焊接方法组合焊接可用相应板厚的单种焊接方法评定结果替代,也可用不同焊接方法组合焊接评定,但弯曲及冲击试样切取位置应包含不同的焊接方法。
[*]不同钢材焊接工艺评 ...
-
钢结构工程和常见符号解释
α——焊缝坡口角度; α-weld groove angle;
h—— 焊缝坡口深度; h-Weld groove depth;
b—— 焊缝坡口根部间隙; b-Root gap of the weld groove;
P—— 焊缝坡口钝边高度; P-the height of the bevel of the w ...
-
法兰的螺栓孔比螺栓大多少?
有经验的检验员可以通过观察螺栓孔与螺栓的间隙来判断螺栓规格用的对不对,那么法兰螺栓孔比螺栓大多少才是正确的呢?
下面以GB_T9124.2-2019,Class150法兰为例
可以看到螺栓孔与螺栓大径的差值 ...
-
机械常识——镀层厚度的要求
-
SA516GR70是什么?工业人必懂
1.什么是SA516GR70?
标准来源:ASME(美国机械工程师协会)A516/A516M标准,专为中低温压力容器设计。名称解读:“SA”代表ASME标准,“516”是标准编号,“GR70”表示抗拉强度≥70千磅/平方英寸(约482MPa)。
2. ...
-
PE电熔连接为何容易出现【虚焊】?
-
为什么奥氏体不锈钢可以“水火相容”?
打破焊接禁忌:为什么奥氏体不锈钢可以“水火相容”?
中高碳钢或合金钢在焊接时是严禁用水冷却的,因为它们焊接后容易产生冷裂纹。经常关注我们专题的朋友应该知道,冷裂纹的产生主要有三个要素:淬硬组织、扩散氢 ...
-
为什么不锈钢和碳钢焊条是“错误搭配”?关键就在这四个字:晶间腐蚀。
为什么不锈钢不能用碳钢焊条焊接,就是因为这样做会使不锈钢产生晶间腐蚀。
什么叫做晶间腐蚀?
晶间腐蚀是局部腐蚀的一种,是沿着金属晶粒间的分界面向内部扩展的腐蚀。是由于晶粒表面和内部间化学成分的差异以及晶 ...
-
管道设计中常见违规条文场景
管道设计中最易违反的条文集中在三类核心内容:一是安全红线要求(如防火间距、介质隔离、禁止穿越等);二是基本设计原则(如焊接优先、坡度流向、分层布置等);三是施工可行性相关要求(如操作检修空间、焊缝位置 ...
-
你觉得轴承安装应加热到多少度?安装有哪些细节?看看国家标准怎么说
引言:在轴承的机械装配中,大家应该都知道一句话“大厂冻,小厂烧,路边铺子咣咣敲!”对于具有过盈配合的滚动轴承,我们实践中常采用加热使其内孔膨胀的方法进行安装。一般企业中很少见冷装法,而敲击安装的,可不 ...
-
气割的氧气、乙炔表的螺纹是反的?
引言:对用过气割的朋友来说,都知道氧气乙炔的“枪、表、带”的螺纹是相反的,却很少有人知道为什么会这样设计。氧气表和乙炔表的接口(俗称“表扣”)是“反”的,核心目的是为了“防错”,防止因误接而导致致命的 ...
-
金属腐蚀形态
金属腐蚀形态金属腐蚀的形态可分为全面(均匀)腐蚀和局部腐蚀两大类。前者较均匀地发生在全部表面,后者只发生在局部。例如孔蚀,缝隙腐蚀,晶间腐蚀,应力腐蚀破裂,腐蚀疲劳,氢腐蚀破裂,选择腐蚀,磨损腐蚀,脱 ...
-
焊接无飞溅:8个核心技巧提升你的焊缝质量
-
固定式压力容器安全阀整定压力高于设计压力?
固定式压力容器安全阀整定压力一般不应大于设计压力。
例外情况:设计图样或设备铭牌上标注有最高允许工作压力的,也可以采用最高允许工作压力确定安全阀阀整定压力(固容规9.1.4.2)。
所以检查人员或检验人员在 ...
-
美国焊接学会AWS B1.11焊接缺欠彩图综述(二)咬边,未焊满,焊瘤与分层
-
焊缝位置还能不对?是不是吹毛求疵?
一次专家检查,指出某管道的焊缝位置不对,主要是焊缝位置刚好放在了支架的位置,焊缝位置还能不对?是不是专家吹毛求疵?让我们看一下标准是怎么说的。
《现场设备、工业管道焊接工程施工规范 GB50236-2011 》“7.2 ...
-
膨胀节的安装及运行注意事项
01 保护波纹管
波纹管作为膨胀节上最重要的承压元件,为单层或多层薄壁结构,一旦损伤,现场难以修复。整个安装施工过程中应防止硬物碰撞波纹管。靠近波纹管进行焊接、气割或打磨作业时,应防止焊接飞溅物、气割火星 ...
-
含碳量大于0.6%就是高碳钢吗?
在材料科学与工程领域,钢铁的分类始终是一个基础而核心的课题。其中,依据含碳量进行的分类最为普遍,也常被简化为“低碳钢、中碳钢、高碳钢”的二分或三分法。一个广泛流传且被许多教科书、技术手册引用的界定是: ...
-
如何分辨无缝钢管、直缝焊管及螺旋焊管?
-
压力容器单面焊双面成形的核心秘籍
锅炉及压力容器等重要结构,要求接头安全焊透,但由于受结构尺寸及形状等限制,有时无法进行双面焊接。只能开单面坡口的特殊操作方法单面焊双面形成技术,它是手弧焊中难度较大的一种操作技能。
焊接立焊时,由于熔 ...
-
工业产品生产许可证实施细则通则及24种产品生产许可证实施细则
工业产品生产许可证实施细则通则及24种产品生产许可证实施细则
-
选用焊丝的方法知识大汇总
一、实芯焊丝的选用 1、埋弧焊焊丝埋弧焊时焊剂对焊缝金属起保护和冶金处理作用,焊丝主要作为填充金属,同时向焊缝添加合金元素,并参与冶金反应。
1)低碳钢和低合金钢用焊丝低碳钢和低合金钢埋弧焊常用焊丝有如下 ...
-
新人帖
哇!我中得了【100灵石】大奖,好高兴哦!
哈哈... 真是没想到啊!我能 被从天而降的钢蹦儿砸中 中得了100灵石 好高兴哦!
100灵石
100灵石奖品
-
钢铁材料常见的冶金缺陷有哪些?
钢铁材料在冶炼及结晶过程中,常常会产生一些缺陷,如疏松、缩孔、皮下气泡、夹杂物、成分偏析等等,这些冶金缺陷如果太严重,可能会为材料正常的使用造成安全隐患。
钢铁材料在使或加工过程中发生的早期失效,如疲 ...
-
纪念第一次抽奖中奖,
纪念第一次抽奖中奖
-
失效分析的基本方法有哪些?